
The Qaba 3-Tier Kids Toy Storage Organizer Cabinet is a practical and child-friendly solution for keeping toys, books, and art supplies neatly arranged. Suitable for children aged 3 years and up, it features a sturdy wooden frame with three open tiers for easy access and organization. Its smooth edges and stable design ensure safety, while the compact white finish complements any playroom, nursery, or kids’ bedroom. Built to support up to 50 kg, this storage unit combines durability, safety, and modern style for everyday use.
Warning
- This product is suitable for children aged 3 years and older.
- Always use under adult supervision. Children must not climb or stand on the product to prevent accidents or injury.
- Store in a cool, dry place, away from heat sources, open flames, and direct sunlight.
- Do not place the product in water, on uneven, or sloped surfaces.
- After unpacking, keep plastic bags and small parts away from children to avoid suffocation or choking hazards.
- Ensure all parts are correctly installed and firmly connected before use.
- Adults only should handle the assembly. Keep children at a safe distance during setup and be careful to avoid pinching fingers.
Parts List
Use the illustration below as a reference when identifying each component. Make sure all parts are present before beginning assembly.

| No. | Part Description | Quantity |
| ① | Wooden Dowel | ×4 |
| ② | Bottom Panel | ×1 |
| ③ | Lower Shelf Panel | ×1 |
| ④ | Center Support | ×1 |
| ⑤ | Lower Divider | ×1 |
| ⑥ | Right Side Panel | ×1 |
| ⑦ | Middle Shelf Panel | ×1 |
| ⑧ | Upper Divider | ×1 |
| ⑨ | Inner Support Panel | ×1 |
| ⑩ | Upper Front Panel | ×1 |
| ⑪ | Left Side Panel | ×1 |
| ⑫ | Top Shelf Panel | ×1 |
| ⑬ | Rear Support Bar | ×1 |
| ⑭ | Upper Right Bracket | ×1 |
| ⑮ | Upper Left Bracket | ×1 |
| ⑯ | Top Right Panel | ×1 |
| ⑰ | Top Left Panel | ×1 |
| ⑱ | Roof Panel (Right) | ×1 |
| ⑲ | Roof Panel (Left) | ×1 |
| ⑳ | Back Panel | ×1 |
| ㉑ | Screw Set / Hardware Pack | ×1 |
Hardware List
Before starting assembly, check that all hardware is included. Spare pieces are provided for your convenience.

| Code | Description | Specification | Quantity |
| A | Screw | 6×30 mm | ×4 |
| B | Screw | 4×30 mm | ×6 (+1 spare) |
| C | Screw | 4×16 mm | ×2 |
| D | Screw | 3×25 mm | ×10 (+1 spare) |
| E | Screw | 3×8 mm | ×4 |
| F | Angle Bracket | — | ×4 |
| G | L-Shaped Connector | — | ×1 |
| H | Hinge | — | ×4 |
| I | Wooden Dowel | — | ×20 (+1 spare) |
| J | Cam Lock Screw | — | ×20 (+1 spare) |
Tip: Organize all hardware on a flat surface before starting assembly. Using the correct screw size in each step ensures stability and prevents damage to the panels.
Assembly Instructions
Follow the step-by-step guide below to assemble your Qaba 3-Tier Kids Toy Storage Organizer Cabinet (SKU: 311-056V80WT) safely and efficiently. Make sure to complete each step in order and verify all parts before moving to the next stage.
Step 1: Prepare Panels and Attach Cam Locks

Parts Required:
- Panels: ②, ⑤, ⑦, ⑨, ⑩, ⑫, ⑭
- Hardware: F×4, I×6, J×20
Instructions:
- Insert cam lock screws (J) into the pre-drilled holes on panels ②, ⑤, ⑦, ⑨, ⑩, ⑫, and ⑭ as shown in the diagram.
- Insert wooden dowels (I) into the corresponding connecting holes on the same panels.
- Secure angle brackets (F) to panels ⑩ and ⑭ using the indicated holes.
- Ensure each cam lock is aligned properly with the dowels for smooth assembly in later steps.
- Double-check all hardware placement before moving to Step 2.
Tip: Do not overtighten any parts at this stage. Leave minor flexibility for alignment during the next steps.
Step 2: Insert Dowels into Side Panels

Parts Required:
- Panels: ⑥, ⑪
- Hardware: I×14
Instructions:
- Insert wooden dowels (I) into all pre-drilled holes on both Side Panels (⑥ and ⑪) as shown in the diagram.
- Make sure each dowel is pushed in firmly and sits straight to ensure accurate alignment in later steps.
- Confirm that dowels are evenly inserted and not protruding excessively from the surface.
- Once completed, place both side panels upright on a soft surface to prevent scratches.
Tip: A small rubber mallet can be used to gently tap dowels into place without damaging the panels.
Step 3: Attach Legs to the Bottom Panel

Parts Required:
- Panels: ②
- Hardware: A×4, H×4, ①×4
Instructions:
- Place the Bottom Panel (②) upside down on a flat surface.
- Align each leg (①) with the pre-drilled corner holes.
- Position the hinge plates (H) between the leg and panel as shown in the diagram.
- Secure each leg using screws (A) through the hinge plates into the panel.
- Tighten all screws evenly to ensure the legs sit flush and stable.
Tip: Assemble on a protected surface to prevent scratching the panel finish. Ensure all legs are aligned before fully tightening.
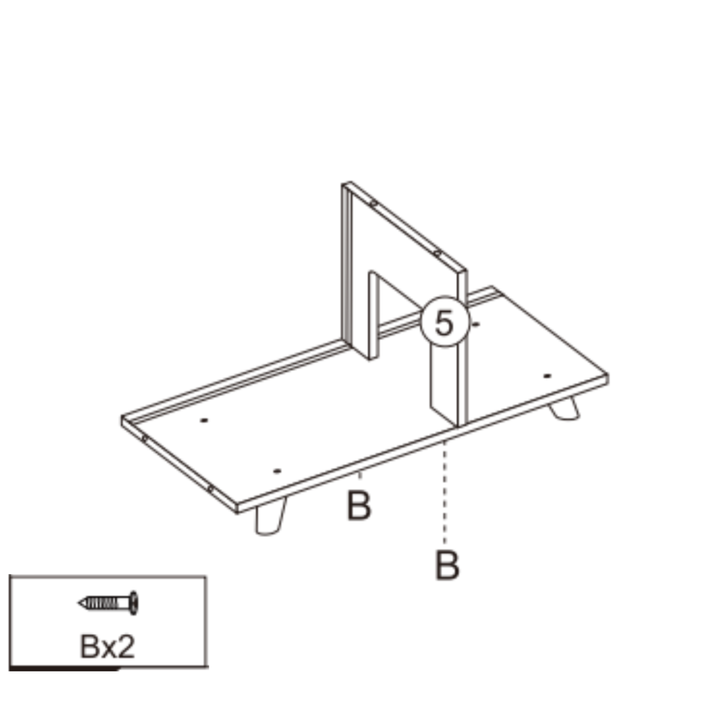
Step 4: Install the Lower Divider Panel

Parts Required:
- Panels: ②, ⑤
- Hardware: B×2
Instructions:
- Position the Bottom Panel (②) upright with the legs facing downward.
- Align the Lower Divider Panel (⑤) vertically at the center of the bottom panel, matching the pre-drilled holes.
- Secure the divider using two screws (B) through the underside of the bottom panel into the divider.
- Ensure the divider stands straight and firmly in place before proceeding.
Tip: Tighten both screws evenly to prevent the divider from leaning or twisting.
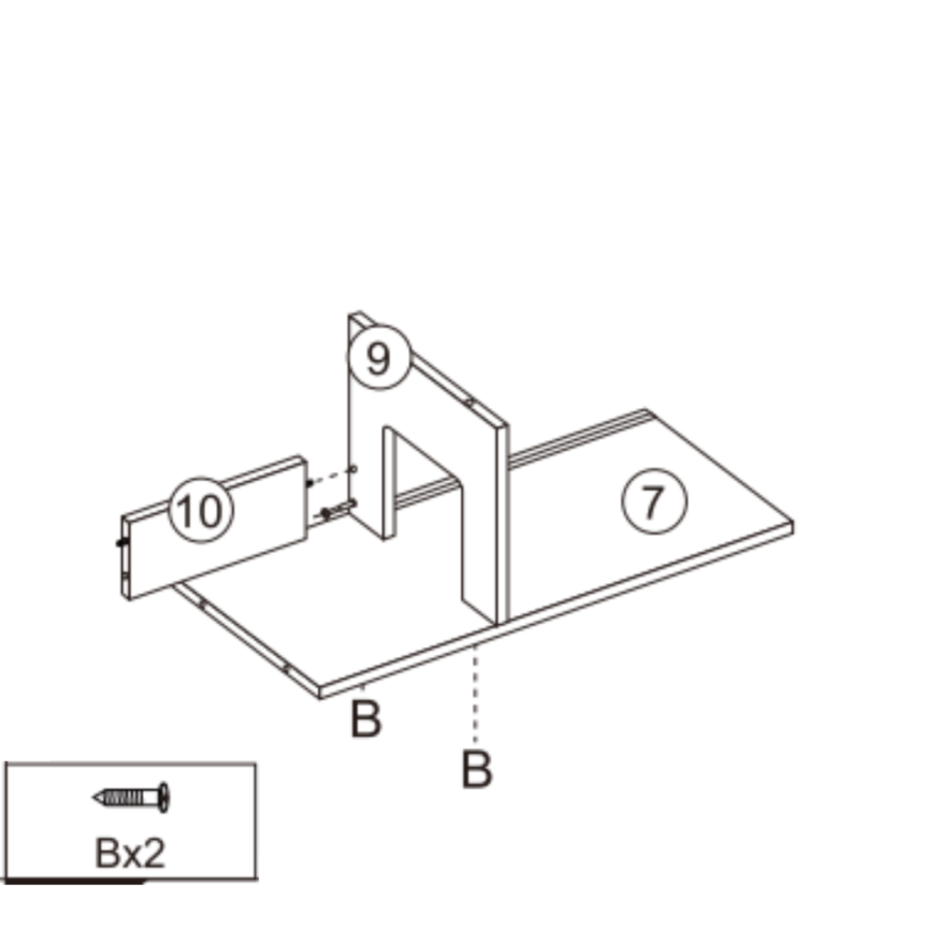
Step 5: Attach the Middle Divider and Front Panel

Parts Required:
- Panels: ⑦, ⑨, ⑩
- Hardware: B×2
Instructions:
- Place the Middle Shelf Panel (⑦) on a flat surface.
- Position the Middle Divider (⑨) vertically into the center slot on the shelf, aligning the holes.
- Attach the Front Panel (⑩) to the side of the divider using two screws (B) as shown in the diagram.
- Ensure all parts are aligned properly and the divider stands upright.
Tip: Do not overtighten the screws, slight adjustment may be needed during later assembly.
Step 6: Assemble the Roof Section

Parts Required:
- Panels: ⑯, ⑰, ⑱, ⑲, ⑲, ㉑
- Hardware: D×6, E×4, G×1
Instructions:
- Align the Roof Panels (⑯, ⑰, ⑱, ⑲) as shown, matching their angled edges.
- Connect panels using screws (D) along the inside edges to form the roof shape.
- Secure the support beam (⑯) between both sides with screws (D) to reinforce the top.
- Attach the metal connector (G) to the top joint using screws (E) for additional stability.
- Tighten all screws to ensure the roof is securely joined and aligned evenly.
Tip: Assemble the roof on a soft surface to prevent scratches, and confirm all angles meet neatly before tightening completely.
Step 7: Connect Side Panels to Lower Frame

Parts Required:
- Panels: ⑥, ⑪, ⑤ (assembled frame)
- Hardware: B×2
Instructions:
- Position both Side Panels (⑥ and ⑪) upright, ensuring the finished sides face outward.
- Align the Lower Frame Assembly (from Step 4) between the side panels.
- Insert screws (B) through the pre-drilled holes in the side panels and into the Lower Divider (⑤).
- Tighten securely while maintaining even spacing on both sides.
Tip: It helps to have an extra person hold the panels upright while fastening to ensure perfect alignment.
Step 8: Install Lower Support Panels

Parts Required:
- Panels: ③, ④
- Hardware: (pre-installed dowels and screws from previous steps)
Instructions:
- Slide the Lower Support Panels (③ and ④) into the pre-aligned grooves between the Side Panels (⑥ and ⑪).
- Ensure both panels fit snugly against the Lower Divider (⑤) and align with all dowel connections.
- Gently press each panel down until it is fully seated and flush with the frame edges.
- Confirm both panels are level and securely connected before proceeding.
Tip: Light pressure is sufficient to avoid forcing panels into place to prevent edge damage.
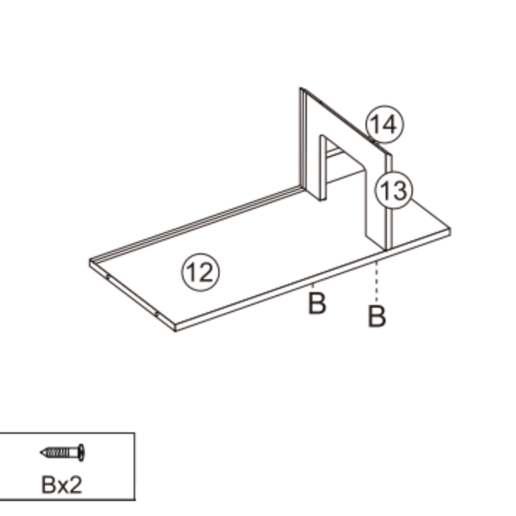
Step 9: Assemble the Upper Divider Section

Parts Required:
- Panels: ⑫, ⑬, ⑭
- Hardware: B×2
Instructions:
- Lay the Top Shelf Panel (⑫) flat with the finished side facing up.
- Align the Upper Divider Panels (⑬ and ⑭) vertically at the marked positions on the top panel.
- Secure the dividers using two screws (B) from underneath the panel as shown.
- Ensure both dividers are standing upright and square before tightening completely.
Tip: Check that the divider edges are flush with the back of the shelf for proper alignment in later steps.
Step 10: Combine Lower and Upper Assemblies

Parts Required:
Assemblies from Step 8 and Step 9
Instructions:
- Carefully align the Upper Assembly (from Step 9) above the Lower Assembly (from Step 8) as shown in the diagram.
- Match all dowels and connecting holes to ensure proper alignment.
- Gently press the upper section down until it fits securely onto the lower frame.
- Confirm that both tiers sit evenly, and all dividers are vertical and flush.
Tip: Ask for assistance during this step to keep both sections steady while fitting them together. Avoid forcing panels, realign if resistance occurs.
Step 11: Insert Upper Support Panel

Parts Required:
- Panel: ⑧
- Assemblies from Step 10
Instructions:
- Slide the Upper Support Panel (⑧) horizontally into the space between the Upper and Lower Assemblies as indicated in the diagram.
- Align both sides with the pre-installed dowels and grooves on the Side Panels (⑥ and ⑪).
- Gently press the panel in until it sits flush with the frame edges.
- Verify that the support panel is level and firmly seated to maintain the cabinet’s overall structure.
Tip: Insert the panel slowly at a slight angle, then straighten it as it slides into place for a smoother fit.
Step 12: Attach the Right Side Panel

Parts Required:
- Panel: ⑥
- Assembly from Step 11
Instructions:
- Align the Right Side Panel (⑥) with the dowels and pre-drilled holes on the side of the assembled frame.
- Carefully insert the panel into position, ensuring all dowels fit securely into their corresponding holes.
- Press the panel firmly until it sits flush against the structure and edges are properly aligned.
- Double-check that all internal dividers connect smoothly into the panel without gaps or misalignment.
Tip: Apply even pressure across the panel edges to avoid striking directly on corners to prevent surface damage.
Step 13: Attach the Left Side Panel

Parts Required:
- Panel: ⑪
- Assembly from Step 12
- Hardware: B×4
Instructions:
- Position the Left Side Panel (⑪) on the opposite side of the frame.
- Align all dowels and connector holes with the corresponding points on the internal dividers and shelves.
- Secure the panel in place using four screws (B) through the pre-drilled holes.
- Tighten each screw evenly to ensure both side panels are parallel and the structure is stable.
Tip: Start by partially tightening all screws, then secure them fully once the panel is perfectly aligned.
Step 14: Install the Back Panel and Top Support

Parts Required:
- Panels: ⑮, ⑳
- Hardware: C×2
Instructions:
- Align the Back Panel (⑳) with the rear edge of the cabinet frame.
- Insert the Top Support Bar (⑮) horizontally across the upper section, fitting it into the pre-drilled slots on both side panels.
- Secure the support bar in place using two screws (C) through the sides as shown.
- Ensure the back panel is straight and properly seated in its groove to reinforce the structure.
Tip: Make sure the back panel edges are fully flush before tightening the screws to maintain overall stability and alignment.
Step 15: Attach the Roof Panels

Parts Required:
- Panels: ⑰, ⑱
- Hardware: D×4
Instructions:
- Position the Roof Panels (⑰ and ⑱) on top of the assembled frame, aligning them with the Top Support Bar (⑮) and side edges.
- Ensure both roof panels meet neatly at the center joint for a symmetrical fit.
- Secure each panel using four screws (D) as shown in the diagram.
- Tighten all screws evenly to ensure the roof is firmly attached and stable.
Tip: Check alignment before tightening to avoid any gaps between the roof panels or side edges.
Maintenance Method
● Please wipe the surface regularly with half dry rag, when necessary, please gentle soapy / cleanser. Don’t clean it with a strong cleanser.
● Be sure to keep the product away from sharp objects to prevent scratches or damage.
● Please put the product in a cool and dry place and cover it with clean cloth or blanket (do not use plastic) if it is not used for a long time.
Your Qaba 3-Tier Kids Toy Storage Organizer Cabinet is now ready for use. With proper assembly and regular care, it will provide safe, reliable, and long-lasting storage for your child’s toys and books.
User Guide
Download the Qaba 3-Tier Kids Toy Storage Organizer Cabinet Manual (SKU: 311-056V80WT) PDF for your reference.
FAQs
1. What should I do if the screw holes of the kids toy storage organizer don’t align during assembly?
Slightly loosen nearby screws to allow flexibility, realign the panels, and then retighten. Make sure dowels are fully inserted and panels are facing the correct direction before securing.
2. One of the kids toy storage panels seems slightly warped, can I still use it?
Lay the panel flat on a hard surface and apply light pressure to straighten it. If the warping prevents assembly or causes instability, contact Aosom customer service for a replacement part.
3. How can I make the kids’ toy cabinet more stable on carpeted floors?
Ensure all legs are evenly tightened. For soft or uneven surfaces, place a thin, non-slip mat underneath the legs to prevent wobbling or shifting.
4. How do I clean stubborn stains of kids’ storage organizer cabinet without damaging the surface?
Use a soft cloth dampened with mild soap and water. Avoid harsh chemicals, rough sponges, or excessive moisture, as these can dull the finish or cause swelling in the wood panels.
