
The Outsunny Rolling Pool Storage Cart is designed to organize pool toys, floats, towels, and outdoor accessories with ease. Built with a durable steel frame, woven rattan-style panels, and rolling casters, it keeps your poolside clean, tidy, and stress-free. This guide provides clear, step-by-step instructions for safe assembly and long-term use fully aligned with the original manufacturer’s diagrams.
Warning & Safety Instructions
Before assembling or using your storage cart, keep the following precautions in mind:
- Assemble the unit on a flat and stable surface to ensure proper alignment.
- Keep children and pets away during assembly.
- Do not overload the cart; avoid placing extremely heavy items that may bend the frame.
- Ensure all screws are fully tightened before use.
- Lock swivel casters when the unit is stationary to prevent rolling.
- Periodically recheck all fasteners after long-term use or heavy loading.
Parts & Hardware Included
Parts List

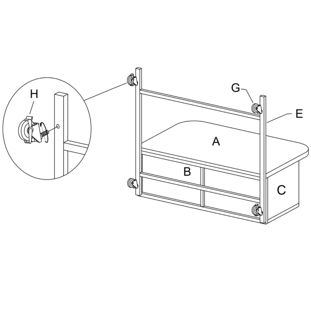
- A × 1 – Front curved frame
- B × 1 – Long rectangular frame
- C × 2 – Side panel frames
- D × 1 – Large back panel
- E × 1 – Bottom support frame
- F × 2 – Tall curved handle frames
- G × 2 – Fixed caster wheels
- H × 2 – Swivel caster wheels (with brake)
Hardware List

- ① M6×15mm Screws × 8 (+2 spare)
- ② M6×40mm Screws × 16 (+3 spare)
- ③ M6 Washers × 24 (+3 spare)
- ④ M6 Hex Key × 1
Please follow carefully these steps to assemble your Outsunny Rolling Pool Storage Cart (SKU: 867-086GY).
Step 1: Attach the Front Curved Frame (A) to the Long Side Frame (B)

Begin by preparing the base structure of the storage cart.
- Lay the Front Curved Frame (A) flat on a stable surface, with the open ends facing upward.
- Position the Long Side Frame (B) vertically so its mounting holes align with the connection points on Frame A.
- Insert two M6×40mm screws (② ×2) through M6 washers (③ ×2) into the holes where Frames A and B meet.
- Use the provided M6 hex key to tighten the screws firmly.
- Ensure both frames are aligned straight and sit securely together. This forms the main front-and-side foundation of the cart.
Step 2: Attach Both Side Panels (C) to the Frame

You will secure the two Side Panel Frames (C) to the existing structure formed by Frames A and B.
- Position the first Side Panel (C) on the open end of the Front Curved Frame (A) and align its mounting holes with the side of Frame B.
- Insert four M6×40mm screws (② ×4) through four M6 washers (③ ×4) into the pre-drilled holes connecting C to both A and B.
- Use the provided M6 hex key to tighten the screws firmly. Do not overtight tighten until secure and flush.
- Repeat the same process on the opposite side with the second Side Panel (C), connecting it to A and B using the remaining screws and washers.
- Confirm that both side panels stand vertically and align evenly with the front and back frames.
Step 3: Attach the Large Back Panel (D) to the Frame

Now you will secure the Large Back Panel (D) to the assembly formed by Frames A, B, and C.
- Position Back Panel (D) behind the structure so its mounting holes align with the rear edges of both Side Panels (C) and the upper part of the Front Frame (A).
- Insert six M6×40mm screws (② ×6) through six M6 washers (③ ×6) into the holes located along the edges where Panel D meets Frames C and A.
- Begin tightening each screw by hand to ensure proper alignment before using the hex key.
- Once all screws are in place, use the provided M6 hex key to fully tighten them. Tighten gradually in a balanced sequence (left–right–left–right) to keep the panel straight.
- Check that the back panel sits flush against both side frames and the front frame, creating a solid three-sided structure.
Step 4: Install the Bottom Support Frame (E) to the Main Structure

In this you will secure the Bottom Support Frame (E) to the assembled front, back, and side panels. This frame reinforces the base and adds rigidity to the lower section of the cart.
- Position the Bottom Support Frame (E) horizontally across the back of the structure, aligning its ends with the mounting holes on the vertical side panels (C) and rear connection bars beneath Panels A and B.
- Insert four M6×40mm screws (② ×4) through four M6 washers (③ ×4) into the designated holes.
- Begin by inserting and hand-tightening the screws on one side to hold the frame in place.
- Proceed to the opposite side and insert the remaining screws with washers.
- Once all screws are positioned, use the M6 hex key to fully tighten them, ensuring the bottom support frame is level and firmly secured.
Step 5: Attach the Handle Frames (F) and Install All Caster Wheels (G & H)

In this step, you will install the caster wheels onto the vertical frame posts so the cart can roll smoothly once completed.
1. Attach the Fixed Casters (G)
- Position the Fixed Casters (G) at the upper and lower mounting points on the Left Vertical Frame (E).
- Align each caster’s bolt with the pre-drilled holes.
- Insert the caster bolt fully and rotate clockwise until the caster sits snug and flush against the frame.
- Repeat this for both fixed casters shown on the left side of the diagram.
Fixed casters do not swivel, helping the cart maintain straight rolling direction.
Step 6: Install the Handle Frames (F) onto the Bottom Base

In this final assembly step, you will attach the Handle Frames (F) to the bottom base of the cart. These tall, curved frames form the upper support and complete the cart’s rolling structure.
- Position each Handle Frame (F) vertically above the mounting points located on the bottom base of the cart.
- Align the bottom ends of each handle frame with the pre-drilled holes in the base frame.
- Insert eight M6×15mm screws (① ×8) through eight M6 washers (③ ×8) into the holes at the base of the handle frames.
- Start by hand-threading each screw to ensure the frame sits straight and correctly aligned.
- Once all screws are in place, use the provided M6 hex key to fully tighten them. Tighten screws gradually in an alternating pattern to keep the handle frames stable and balanced.
- Confirm that all handle frames stand upright, are aligned evenly, and are securely fastened.
Step 7: Final Assembly Check

Your rolling storage cart structure is now fully assembled. At this stage, all panels, support frames, and casters should be securely attached, and the handle frames should stand firmly upright.
- Place the cart in an upright position on a flat surface.
- Gently push the cart forward and backward to ensure all wheels rotate smoothly and the frame remains stable.
- Verify that the handle frames are aligned evenly and do not wobble.
- Check all screws once more, tightening any that may feel slightly loose.
- Inspect the overall frame to ensure all components,from the bottom base to the upper handles are properly connected and flush.
Care & Maintenance
- Wipe the cart with a soft, damp cloth to keep surfaces clean.
- Avoid abrasive cleaners or high-pressure sprays that may damage the rattan or metal frame.
- Although weather-resistant, prolonged exposure to direct sun or heavy rain can reduce durability,store the cart under cover during extreme weather or off-season.
- Clean caster wheels regularly to remove dirt and debris.
- Apply light lubrication to casters if they become stiff or difficult to roll.
- Periodically re-tighten all screws and connections, especially after frequent use or moving the cart.
Safety Precautions
- Assemble only on stable ground.
- Keep children away during assembly.
- Do not overload the cart with heavy items.
- Ensure all casters are secure before use.
- Lock swivel wheels to prevent unintended movement.
Ready to Use!
Your outsunny rolling pool storage rattan patio cart is now ready to help you organize pool toys, towels, floats, and outdoor accessories. You may download the Outsunny Rolling Pool Storage Rattan Patio Cart (SKU: 867-086GY) assembly PDF manual for future reference.
For technical support, replacement parts, or product questions,contact Aosom LLC’s Customer Service and get friendly assistance.
FAQs
1. How do I ensure my Outsunny Rolling Pool Storage Cart is assembled correctly?
Start by assembling on a flat surface to ensure proper alignment. Double-check that all screws are tightened securely, and test the casters before final use. Always refer to the manufacturer’s diagram during assembly for accurate instructions.
2. What should I do if the wheels on my storage cart become stiff or hard to move?
Regularly clean the caster wheels to remove dirt or debris. Apply light lubrication to the casters if they become stiff, ensuring smooth movement. Check that the wheels are securely fastened and free of obstruction.
3. How can I prevent my storage cart from wobbling during use?
Ensure all screws are tightened evenly, especially around the frame and casters. Verify that the handle frames are aligned and standing upright. Recheck connections periodically to maintain stability.
