
The Outsunny 165 Gallon Deck Box (SKU: 865-033V01BK) is designed to provide ample outdoor storage with a stylish wicker finish, waterproof liner, and durable frame. Perfect for patios, decks, and garden spaces, it keeps cushions, tools, toys, and other items dry and organised.
Before You Begin
- Estimated Assembly Time: 60 minutes
- Recommended Personnel: 2 adults
- Assemble on a flat, soft surface to prevent scratches or damage.
- Check that all parts and hardware are included and undamaged.
- Do not fully tighten screws until all parts are aligned.
- Keep small components away from children and pets.
Parts & Hardware
Parts
| Label | Quantity | Description / Name |
| A | 1 | Rear Panel / Back Frame Panel |
| B | 1 | Left Side Panel (Glass/Window Panel) |
| C | 1 | Front Panel with Door Frame |
| D | 1 | Right Side Panel (Glass/Window Panel) |
| E | 1 | Roof Panel / Top Cover Panel |
| F | 1 | Roof Awning Panel / Slanted Awning Frame |
| H | 1 | Floor Base Panel / Bottom Platform |
Hardware
| Label | Quantity | Description / Name |
| G | 2 | Gas Spring / Gas Lift Support |
| I | 8 (+1 spare) | M6×20 Bolts |
| J | 2 | M6 Nuts |
| K | 18 (+1 spare) | M6×35 Bolts |
| L | 2 | M6×45 Bolts |
| M | 26 (+1 spare) | Flat Washers |
| N | 4 | Small Plastic Spacer / Bumper |
| O | 2 | Large Plastic Spacer / Bumper |
| P | 2 | Metal Support Brackets |
| Q | 1 | Hex Key (Allen Key), M6 |
| R | 1 | Open-End Wrench |
- Keep spare bolts and washers for future maintenance.
- Washers should be used with all bolts unless otherwise specified.
Assembly Instructions
Follow these steps carefully and proceed sequentially to assemble your Outsunny 165 Gallon Deck Box Assembly Manual-SKU 865-033V01BK.
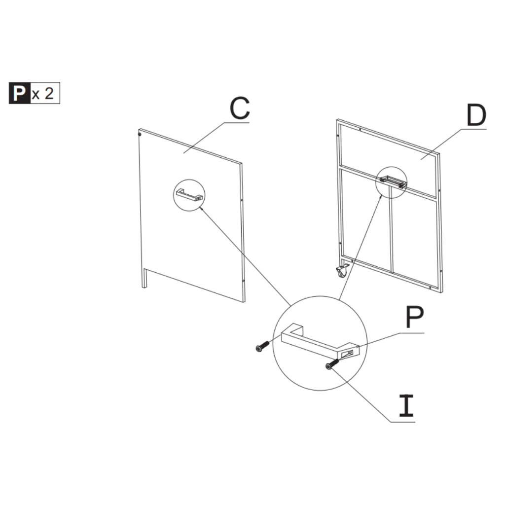
Step 1: Attach the Metal Support Brackets to Front and Back Panels+

Parts & Hardware Needed:
- Front Panel with Door Frame – C
- Right Side Panel (Glass/Window Panel) – D
- Metal Support Brackets – P (x2)
- M6×20 Bolts – I (x4, 2 per bracket)
- Allen Key – Q
Instructions:
- Place the front panel (C) and back panel (D) upright on a clean, flat surface.
- Align one metal support bracket (P) with the designated holes on panel C as shown in the diagram.
- Insert two M6×20 bolts (I) through the bracket into the panel.
- Repeat the same process for the second bracket on panel D.
- Using the Allen key (Q), tighten the bolts lightly so the brackets hold in place. Do not fully tighten yet this allows slight adjustment in later steps.
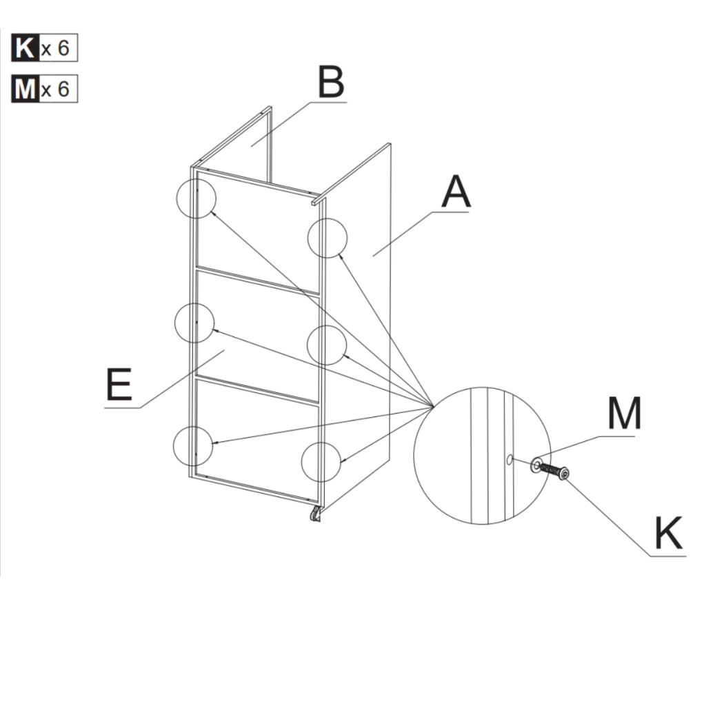
Step 2: Attach Left and Right Side Panels to Rear Panel

Parts & Hardware Needed:
- Rear Panel / Back Frame Panel – A
- Left Side Panel (Glass/Window Panel) – B
- Floor Base Panel / Bottom Platform – E
- M6×35 Bolts – K (x6)
- Flat Washers – M (x6)
Instructions:
- Place the rear panel (A) upright on a flat, clean surface.
- Position the left side panel (B) along the edge of the rear panel as shown in the diagram.
- Insert three M6×35 bolts (K) with washers (M) through the pre-drilled holes to connect the side panel to the rear panel.
- Repeat the same process for the right side panel, aligning it with the opposite edge of the rear panel.
- Attach the bottom panel (E) between the rear and side panels using the remaining bolts and washers.
- Tighten all bolts lightly with the Allen key (Q), keeping slight looseness to allow adjustments in the next steps.
Step 3: Attach Right Side Panel to the Box Frame

Parts & Hardware Needed:
- Right Side Panel (Glass/Window Panel) – D
- Left Side Panel – B
- Front Panel with Door Frame – C
- M6×35 Bolts – K (x4)
- Flat Washers – M (x4)
Instructions:
- Align the right side panel (D) with the pre-drilled edges of the left side panel (B) and the front panel (C).
- Insert four M6×35 bolts (K) with washers (M) into the connection points as shown in the diagram.
- Using the Allen key (Q), tighten the bolts lightly so the panel is held in place.
- Make sure all panels form a perpendicular box shape and the edges are flush.
- Leave bolts slightly loose for adjustments in the next steps if necessary.
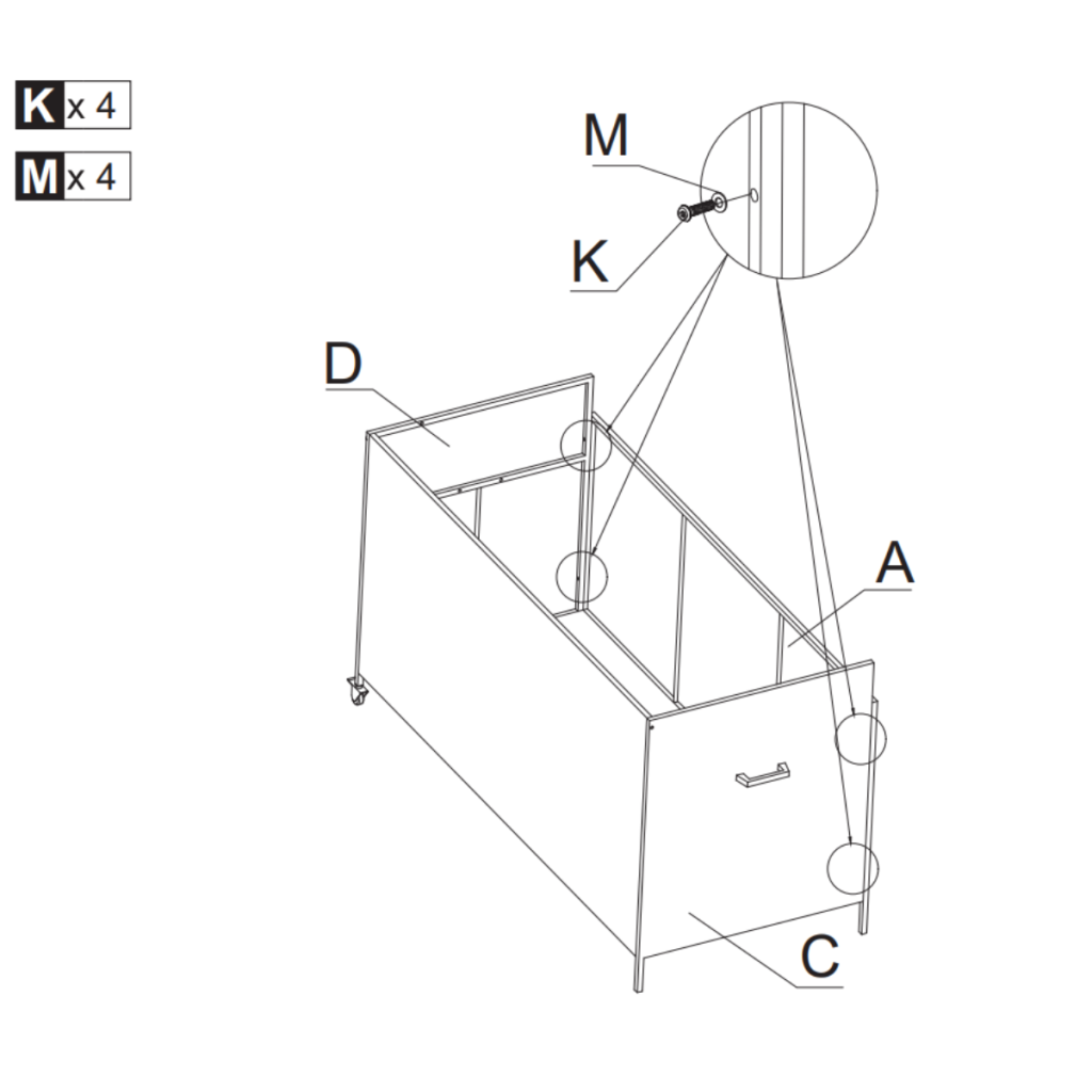
Step 4: Attach Rear Panel to the Box Frame

Parts & Hardware Needed:
- Rear Panel / Back Frame Panel – A
- Front Panel with Door Frame – C
- Right Side Panel – D
- M6×35 Bolts – K (x4)
- Flat Washers – M (x4)
Instructions:
- Position the rear panel (A) so it aligns with the edges of the front panel (C) and the right side panel (D).
- Insert four M6×35 bolts (K) with washers (M) through the pre-drilled holes into the rear panel.
- Tighten the bolts lightly with the Allen key (Q), keeping a little looseness for alignment adjustments in the next steps.
- Ensure all panels form a perpendicular box shape and edges are flush.
Step 5: Attach Roof Panel to the Box Frame

Parts & Hardware Needed:
- Roof Panel / Top Cover Panel – E
- Front Panel with Door Frame – C
- Left and Right Side Panels – B & D
- M6×35 Bolts – K (x4)
- Flat Washers – M (x4)
Instructions:
- Place the roof panel (E) on top of the assembled box frame, aligning it with the edges of the front, back, and side panels.
- Insert four M6×35 bolts (K) with washers (M) through the pre-drilled holes in the roof panel into the top edges of the panels below.
- Using the Allen key (Q), tighten the bolts lightly to hold the roof panel in place.
- Ensure that the roof panel is flush with all sides and that the box maintains a square, aligned shape.
- Leave the bolts slightly loose for final adjustments after the remaining assembly steps.
Step 6: Attach Roof Awning Panel and Support Brackets

- Position the roof awning panel (F) on top of the side panels as shown in the diagram.
- Align the support points on the awning panel with the corresponding points on the side panel (B).
- Insert M6×45 bolts (L) with washers (M) through the large plastic spacers (O) into the pre-drilled holes on the side panel.
- Using the Allen key (Q), tighten bolts lightly to secure the awning panel in place.
- Ensure the awning panel is evenly positioned and flush along the top of the side panels.
Step 7: Attach Gas Springs to Lid and Side Panels

- Position the lid panel (F) open at a slight angle for easy access.
- Attach one end of the gas spring (G) to the side panel (B or D) using M6×20 bolts (I), washers (M), and small plastic spacers (N) as shown in the diagram.
- Attach the other end of the gas spring to the corresponding point on the lid panel (F) using M6×20 bolts (I), nuts (J), and washers (M).
- Repeat the same procedure for the second gas spring on the opposite side.
- Tighten all bolts and nuts lightly first, then check that the lid opens smoothly and stays supported by the gas springs.
Step 8: Insert Waterproof Liner

- Take the waterproof liner (H) and carefully place it inside the assembled deck box.
- Ensure the liner fits snugly along all sides and covers the bottom platform completely.
- Smooth out any folds or wrinkles so that the liner sits evenly.
- Check that the liner does not interfere with the lid opening or the gas springs.
Step 9: Completed Assembly

- After following all previous steps, the deck box is now fully assembled.
- Verify that all panels are secure, corners are aligned, and the box sits evenly on a flat surface.
- Test the lid operation:
- Ensure it opens smoothly and is supported properly by the gas springs.
- Confirm the lid closes safely without obstruction.
- Place the waterproof liner (H) inside for ready-to-use storage.
Care & Maintenance
Cleaning:
- Wipe the exterior with a damp cloth; avoid harsh chemicals.
- Remove liner and rinse with water if needed.
Maintenance:
- Check bolts and hinges every 2–3 months and tighten if necessary.
- Avoid dragging the box across rough surfaces.
Safety Precautions
- Assemble on a flat and stable surface.
- Use two or more adults for assembly.
- Keep children away from small hardware.
- Do not exceed the recommended weight capacity for storage.
Ready to Use!
Your Outsunny 165 Gallon Deck Box is now fully assembled and ready for use.
With its durable wicker finish, waterproof liner, and sturdy frame, it’s perfect for patio storage, garden organisation, or poolside accessories.
You can also download a copy of the Outsunny 165 Gallon Deck Box (SKU-865-033V01BK) Manual PDF for future reference.
Thank you for choosing Outsunny, crafted for durability, function, and style.
For technical support, replacement parts, or product questions,contact Aosom LLC’s Customer Service and get friendly assistance.
FAQs
1. How can I prevent scratches during assembly?
Assemble the deck box on a soft, flat surface, like a blanket or foam mat. This will protect both the parts and the surface you’re working on. Avoid assembling directly on concrete or rough floors.
2. Why should I not tighten bolts fully during assembly?
Not tightening bolts fully allows for adjustments as you align all panels during assembly. Once everything is in place, go back and tighten all bolts securely. This ensures a proper fit and reduces stress on the panels.
3. What can I do if the lid doesn’t open smoothly?
Check that both gas springs are correctly installed and tightened. If needed, adjust the gas spring bolts and ensure the lid is not obstructed by any parts of the frame. Lubricating the gas springs may help with smooth operation.
