The HOMCOM Bedroom Chest of Drawers (831-950V80AK) combines a modern fluted panel design with three spacious drawers for versatile bedroom storage. Perfect for clothing, linens, or accessories, this dresser is both practical and stylish.

To get the best results, follow all assembly steps carefully, observe safety guidelines, and maintain your chest of drawers regularly.
Warning and Safety Instructions
- For indoor use only.
- Assemble on a flat, stable, dry surface.
- Use at least two people for safe assembly.
- Keep packaging and small parts away from children.
- Do not exceed drawer weight capacity.
- Keep away from flames, moisture, and extreme heat sources.
- Do not modify or drill extra holes into any panel.
- The manufacturer is not responsible for damage caused by incorrect installation.
Unboxing Your Chest of Drawers: What’s Inside
When you unbox your HOMCOM Bedroom Chest of Drawers, confirm all parts and hardware are present. Place them on a soft, clean surface to avoid scratches.
Parts

- Top Panel ×1
- Side Panels (Left & Right) ×2
- Back Panel ×1
- Drawer Front Panels ×3
- Drawer Side Panels ×6
- Drawer Back Panels ×3
- Drawer Bottom Boards ×3
- Base / Leg Components ×4
Hardware Pack

- Screws (various sizes)
- Wooden dowels
- Cam lock bolts & nuts
- Drawer runners & tracks
- Handles ×3
- Safety bracket kit
How to Assemble Your Chest of Drawers
Follow the sequence carefully and use the matching diagrams for visual guidance.
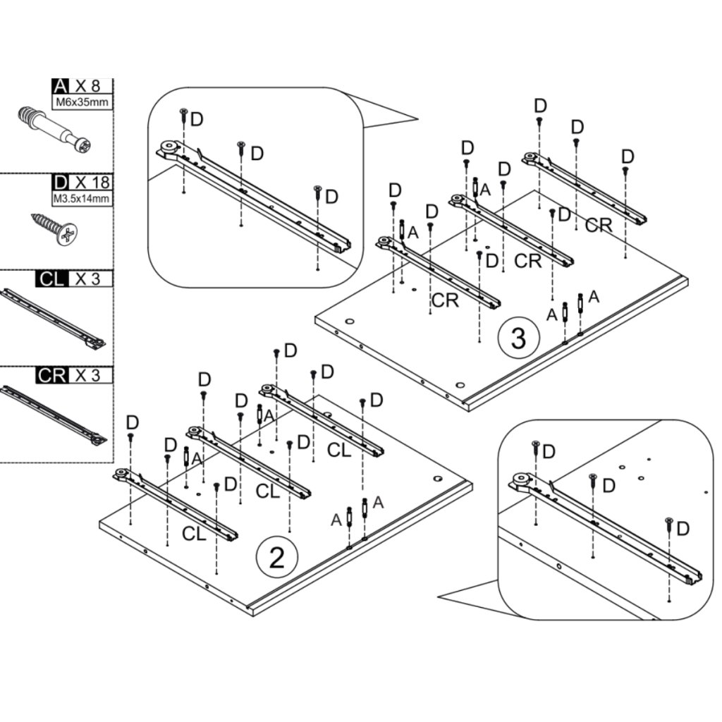
Step 1: Attach Drawer Runners to Side Panels

- Place the left and right side panels flat on the ground with the inner faces facing up.
- Position the CL runners on the inside of the left panel and the CR runners on the inside of the right panel.
- Align the runners with the pre-drilled holes.
- Secure each runner using screws D (small screws) at the marked positions.
Step 2: Prepare the Top Panel

- Panel ① (Top Panel)
- Insert A ×4 (M6×35mm) into marked holes.
- Fix J ×2 (Brackets) using I ×2 (M4×14mm).
Step 3: Connect Side and Rails

- Panels: ②, ③ (Side Panels), ⑤ (Top Rail), ⑥ ×2 (Rails)
- Insert C ×4 (M6×30mm dowels) into panels.
- Fix rails using B ×8 (M15×10mm cam locks).
- This step creates the dresser’s basic frame structure.
Step 4: Attach the Top Panel

- Panel: ① (Top Panel), ⑦ (Support Rail)
- Insert C ×4 (M6×30mm dowels) into frame holes.
- Place the top panel (①) on top, aligning dowels.
- Lock in position with B ×4 (M15×10mm cam locks).
Step 5: Attach Upper Back Support Panel
- Panels: ④ (Top Back Panel), ⑧ (Support Rail)
- Insert C ×4 (M6×30mm dowels) into frame holes.
- Place panel ④ on top, align with dowels.
- Secure with G ×4 (M4×35mm screws).
Step 6: Fix Leg Mounting Plates

- Panel: ④ (Bottom Panel, now facing up)
- Parts: H ×4 (70×70mm leg plates)
- Hardware: I ×16 (M4×14mm screws)
- Attach 1 plate (H) at each corner using 4 screws (I) each.
Step 7: Attach the Legs

- Parts: 15 ×4 (Legs), L ×4 (Leg Caps)
- Screw each leg (15) into the mounting plates (H) from Step 6.
- Once all legs are secure, press caps (L) onto the bottom of each leg.
Step 8: Fix Back Panel Supports

- Hardware: M ×8 (M3×14mm screws), N ×8 (Angle brackets)
- Attach angle brackets (N) inside the back corners.
- Secure each with screws M through the bracket into the panels.
Step 9: Wall Safety Fixing

- Hardware: G ×2 (M4×35mm screws), K ×2 (Wall plugs)
- Drill holes in the wall and insert wall plugs (K).
- Align the safety brackets on the dresser with the plugs.
- Secure using screws G ×2 into the plugs.
Step 10: Assemble Drawers (×3)

- Panels: 9 (Front), 10 (Sides), 11 (Back), 12 (Bottom), 13 (Supports), 14 (Inner Panels)
- Hardware: A ×18, B ×18, D ×18, G ×18, F ×6, E ×3, DL ×3, DR ×3
- Build drawer box, fix front panel, add handle, and attach runners.
- Repeat to make 3 complete drawers.
Step 10: Final Tightening

- Check all screws, bolts, and cam locks are fully tightened.
- Ensure drawers slide smoothly and align evenly.
- Adjust runners or hinges if drawers feel loose or uneven.
- Wipe surfaces with a soft cloth to remove dust from assembly.
- Use wall safety brackets for extra stability if needed.
Care and Maintenance Tips
- Wipe with a soft, dry cloth.
- For spills, spot clean with a slightly damp cloth.
- Do not use harsh cleaners, bleach, or abrasives.
- Re-tighten screws every few months to maintain stability.
- Place on level flooring to prevent wobbling.
When to Call a Professional
- If a major panel arrives cracked or warped.
- If alignment issues persist after adjustments.
- If drawers do not slide smoothly even after following instructions.
User Guide
You can also download the HOMCOM 3-Drawer Bedroom Dresser Manual (PDF) for your reference.
FAQs
1. Why are my drawers sticking after assembly?
Check that the runners are aligned and screws aren’t over-tightened, then apply a light silicone spray on the tracks and slide the drawer slowly to reset alignment.
2. How can I stop my dresser from scratching the floor?
Attach felt pads to the legs to protect hard floors, lift the dresser with two people instead of dragging, and use coasters on carpets for extra stability.
3. What should I do if a panel has minor scratches?
Buff gently with a microfiber cloth, cover marks with a wood-repair marker in a similar shade, and for deeper scratches use a filler to restore the surface.
4. Can I move the chest after assembly?
Empty the drawers completely, lift the chest with two people holding it from the base, and avoid dragging to prevent joint stress and floor damage.
5. How do I keep drawers sliding smoothly long-term?
Wipe the runners clean with a dry cloth, apply a thin layer of wax or silicone spray to reduce friction, and check screws regularly to keep them tight.
